Apple’ın Uydu Bağlantılı Kılıf Patenti
Apple, akıllı telefon teknolojisinde yeni bir dönemi başlatmaya hazırlanıyor. Özellikle iPhone 14 modeli ile birlikte sunulan uydu bağlantısı özelliği, acil durumlarda telefonların temel iletişim altyapısına bağımlılığını azalttı. Bu gelişmenin ardından şirket, kullanıcıların bu özelliği daha etkin ve güvenli bir biçimde kullanmalarını sağlayacak yeni aksesuarlar geliştirmeye yöneldi. Bunların başında ise uydu bağlantısını güçlendiren özel kılıflar geliyor.

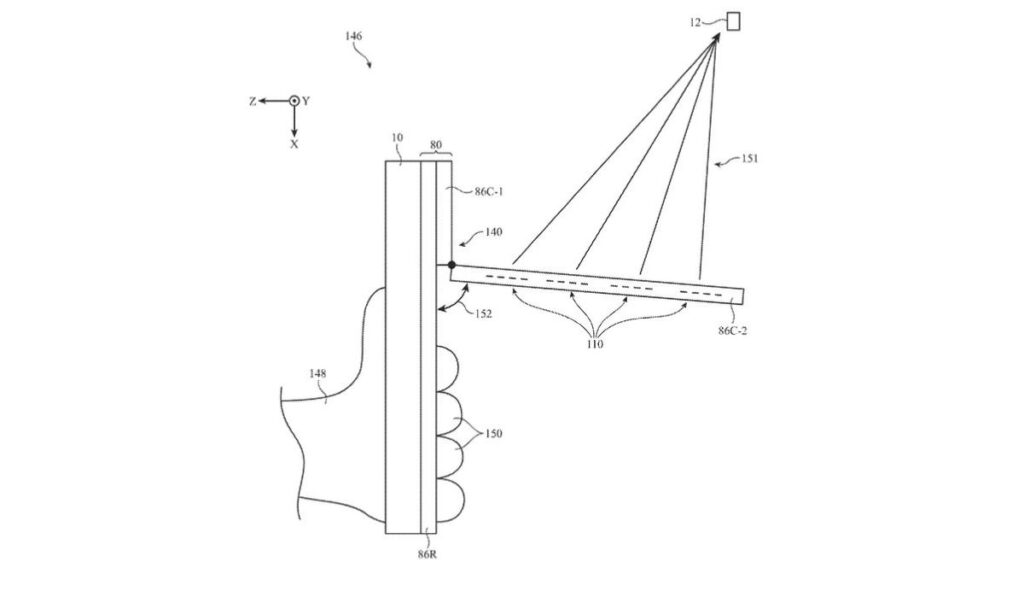
Apple’ın yeni patent başvurusu, bu kılıfların yapısal özellikleri ve fonksiyonelliği hakkında detaylar içeriyor. Patent dokümanlarında, arka kısımda yer alan ve gerektiğinde yukarı doğru açılan özel modülün, uydu sinyallerini nasıl daha güçlü ve stabil bir şekilde alabileceğine dair bilgiler yer alıyor. Bu modül, kullanıcının cihazını tutarken bile sinyal kaybını önlemek adına tasarlandı. Özellikle acil durumlarda, sinyal gücünü artırarak hayat kurtaran iletişimi kesintisiz hale getirmeyi amaçlayan bu tasarım, teknolojik yenilikler arasında dikkat çekiyor.

Modülün çalışma prensibi ise oldukça gelişmiş görünmekte. İçerisinde bulunan sinyal arttırıcı antenler, farklı uydu sistemleri ile bağlantı kurabiliyor ve böylece sinyal kalite ve gücü optimize ediliyor. NFC gibi entegre edilen elektronik devre sayesinde, telefon ile kılıf arasında sürekli ve stabil bir iletişim sağlanıyor. Bu sayede, kullanıcıların farklı konumlarda ve şartlarda yüksek kaliteli uydu sinyallerine ulaşmaları mümkün hale geliyor.
İlginç bir şekilde, bu kılıf sadece iPhone modelleriyle sınırlı kalmayıp, ilerleyen dönemlerde iPad ve diğer mobil cihazlar için de uyumlu hale getirilebileceği belirtiliyor. Bu sayede, farklı cihazlarda kullanılabilecek çok yönlü bir erişim noktası ortaya çıkmış oluyor. Ayrıca, patent başvurusu ile ilgili yapılan analizlerde, kılıfın çoklu uydu bağlantısı desteği sayesinde, olumsuz hava koşulları veya coğrafi engeller nedeniyle kopan sinyallerin tekrar sağlanma ihtimalinin yüksek olduğu da dikkat çekiyor.

Önümüzdeki dönemde, bu gelişmeli birlikte piyasaya çıkacak kılıf ve aksesuarların kullanımı ile ilgili resmi bilgi ve tanıtımların da gerçekleşmesi bekleniyor. Kullanıcılar açısından ise, bu tür teknolojik gelişmeler, özellikle ekstrem durumlardan kaçınmadan iletişimi sürdürebilmek adına büyük bir avantaj sağlayacak. Apple’ın, bu alanda yaptığı inovasyonlar uzun vadede, mobil iletişim altyapısında yeni standartların oluşmasına katkı sağlayabilir ve ekstrem koşullarda iletişim güvenliğini artırabilir.




